Airbus registra patente de avião mais rápido que o som
De acordo com informações confirmadas pela assessoria de imprensa da Airbus, a empresa registrou, no Departamento de Patentes do Estados Unidos, a patente de um avião hipersônico com velocidade quatro vezes e meia superior à do som.
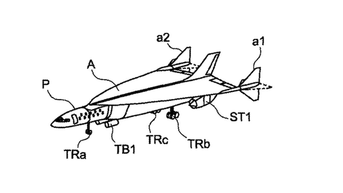
A Airbus registrou no Departamento de Patentes do Estados Unidos a patente de um avião hipersônico com velocidade quatro vezes e meia superior à do som, que é de 340 metros por segundo, e duas vezes superior à do Concorde.
Com capacidade para transportar 20 passageiros, o avião utiliza diversos tipos de motores e ainda tem propriedades sustentáveis, utilizando como combustível uma combinação de oxigênio com o hidrogênio estocado a bordo do avião.
A performance da aeronave cobriria uma distância de nove mil quilômetros (a distancia entre Paris e são Francisco ou Tóquio e Los Angeles, por exemplo) em apenas três horas. Seguindo esta proporção, o trajeto entre São Paulo até Nova York seria feito no período de uma hora.
Com capacidade para transportar 20 passageiros, o avião utiliza diversos tipos de motores e ainda tem propriedades sustentáveis, utilizando como combustível uma combinação de oxigênio com o hidrogênio estocado a bordo do avião.
A performance da aeronave cobriria uma distância de nove mil quilômetros (a distancia entre Paris e são Francisco ou Tóquio e Los Angeles, por exemplo) em apenas três horas. Seguindo esta proporção, o trajeto entre São Paulo até Nova York seria feito no período de uma hora.